
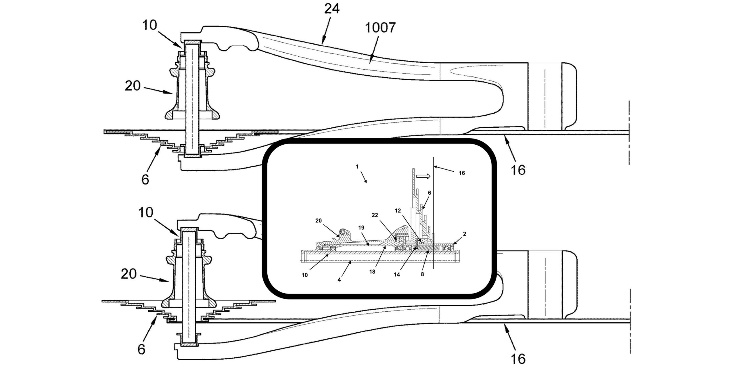
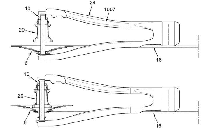
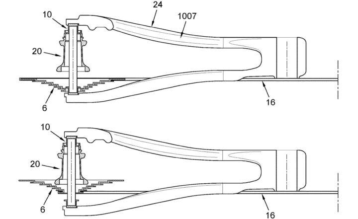
Classified Cycling have been busy, very busy. Recently, we saw a patent from them that details a completely self-sufficient electronic drivetrain. Pretty cool, but it could be just a small innovative part part of a drivetrain design that is significantly more disruptive. Their latest patent details a derailleur-less drivetrain with up to 18 gears, where axial movement of the cassette along the hub axle shifts the chain between neighboring cogs.

The principal tenet of the design falls on maintaining the chain in a perfectly straight line between the chainring and the cassette. With the cassette shifting axially, the chain’s position relative to the dropout remains unchanged.
The diagrams throughout the patent document depict no more than seven cogs on the cassette, but the text reveals that the inventor, Roëll Marie Van Druten (Classified’s founder), has considered up to 9 cogs.

Doubling the number of discrete gear ratios is the hub’s internal gearing system. That is a production affair; the Classified Powershift Hub, their electronic internal gear hub allows the rider to switch between two pre-set gear ratios for each cog of the cassette. It is their flagship product, variations of which have now been rolled out across road, gravel and mountain bike. It effectively delivers a 2x drivetrain, without the need for a front derailleur.
Now, it looks as though Classified are hoping to double down on the efficiency of that system by creating a drivetrain where the chain remains perfectly straight across a spread of up to 18 gears. Such a drivetrain stands to offer improved efficiency over drivetrains that offset the chain at an angle between the chainring and the cassette (literally all other drivetrains, except gearboxes).
Of course, how severe that angle is depends on the selected gear, or cog of the cassette. But, it’s fairly intuitive that the greater the angle, the more friction that will exist between neighboring links along the chain. Eliminate that with a straight chain, and you’ll have a drivetrain that is instantly more efficient.
Secondary benefits: a chain, cassette and chainring that last a lot longer.
Why then, is there a derailleur involved?

Well, that’s not actually a derailleur. It is simply a chain tensioner, lacking the ability to move inboard or outboard. Its purpose is to fold and extend as the required chain length for the chosen gear changes. It is also described as having a friction element, which I have interpreted to be some kind of clutch. Most derailleurs have one, particularly on gravel and mountain bike groups, as it can be useful in improving chain retention as the chain flaps about as you ride over bumps.
Now, just because Classified has filed a patent on this design does not guarantee they will be releasing the product any time soon, nor even that it is actually under development. They could be simply stashing the invention in their back pocket for another day.
To my mind, the design could successfully be implemented on road, gravel and mountain bikes, though it seems its primary proposed advantage of reduced friction and increased efficiency would go down best in the hearts and mind of road riders. Every watt counts, after all.
We have reached out to Classified Cycling, and will update this article if any further information comes to light.