
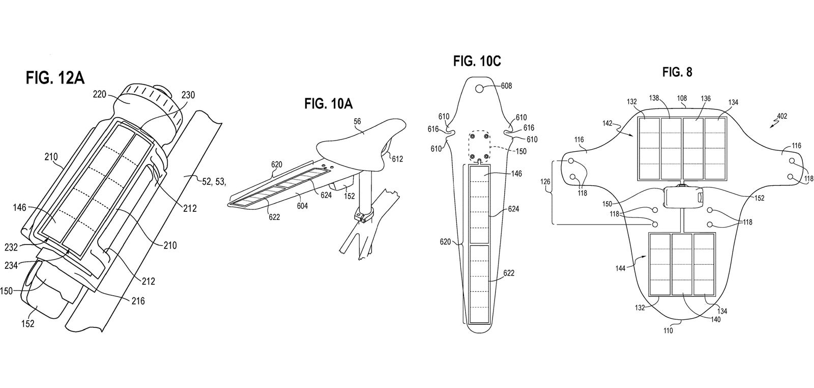
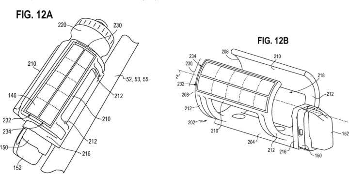
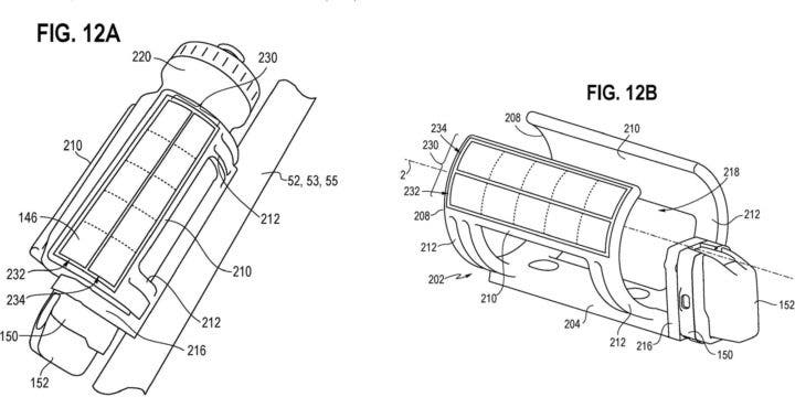
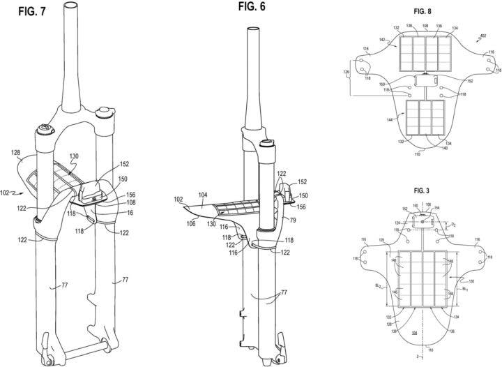
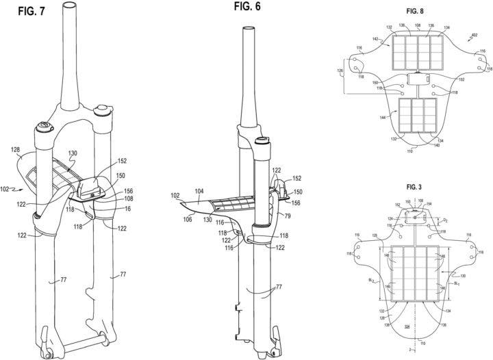
A recent patent from SRAM, published February 6th 2024, details a new method for charging of AXS batteries. A solar array, integrated with front and rear fenders, as well as a bottle cage, could be used to charge a spare AXS battery while on the move. Or not on the move – the solar cells just need to see a bit of sunlight.

The patent (US 11894716 B2) describes an array of solar cells affixed to platform, along with a capacitor and a battery charging unit that can transmit power to a battery at a voltage of between 6.0 and 8.4 volts. Roughly speaking, in optimal light conditions, a 10cm x 10cm array of solar cells would take a couple of hours to charge a 2.2Wh AXS battery.
We got a glimpse of this project last year via a previous patent application from SRAM, but now we see the addition of road and gravel-friendly rear fenders with the same energy harvesting and AXS battery charging capacity.

I’m sure the majority of riders using AXS components would welcome the option to charge a spare AXS battery while riding. Right enough, it’s easy to carry a charged spare in a riding pack or saddle bag, but even unused batteries slowly discharge over time, especially in cold conditions. Even in low light conditions, it could be very useful to have the ability to trickle-charge your spare AXS battery, so that it doesn’t end up depleted by the time you need it.

If SRAM does bring solar AXS battery charging to everyday bicycle components like fenders or bottle cages, use of their electronic groupsets could become a viable option for the long distance multi-day cycle touring contingent. Factoring in stops in civilization need no longer be necessary (at least not for electricity). But, let’s face it, those folk will remain unlikely to depart from the trusted cable-operated mechanical derailleur.
Regardless of whether it’s your cup of tea or not, it’s cool to see that SRAM is working on an innovative solution behind the scenes. We’ve reached out to SRAM for comment, and will update this article if more light can be shed on the matter.